接口自动化测试框架 (一) :APIAutoTest框架
前言
随着测试技术的发展,接口自动化测试逐渐成为各大公司投入产出比最高的测试技术。介入时间早,执行效率高,稳定性高的优点,让越来越多的公司引入接口自动化测试。
框架简介
APIAutoTest是处理API接口的轻量级自动化测试框架,Java语言实现,基于TestNG测试框架,支持持续集成,自动构建与测试。
框架介绍
1. 数据驱动设计,使用TestNG中的@DataProvider读取Excel中存储的自动化测试用例。
2. 基于TestNG测试框架
3. 使用HttpClient发送Http请求,并统一接口response返回值为String
4. 使用fastJson和Jsoup进行数据解析,由于请求返回值的统一,解析数据异常方便,方便接入不同接口类型的数据
5. 独立封装的检查点“Jsonpath”检查点,极大方便检查点的设置
6. 在线报告以及Email报告
7. 持续集成、持续交付、自动构建与测试
框架技术栈图
框架组件图
Maven进行项目、依赖管理
HttpClient进行通信
TestNG测试框架管理测试脚本以及测试驱动
FastJson/Jsoup用于数据解析
AssertJ用于检查点设置
ExtentReports输出具备图表分析的报告
SVN+Jenkins实现持续集成
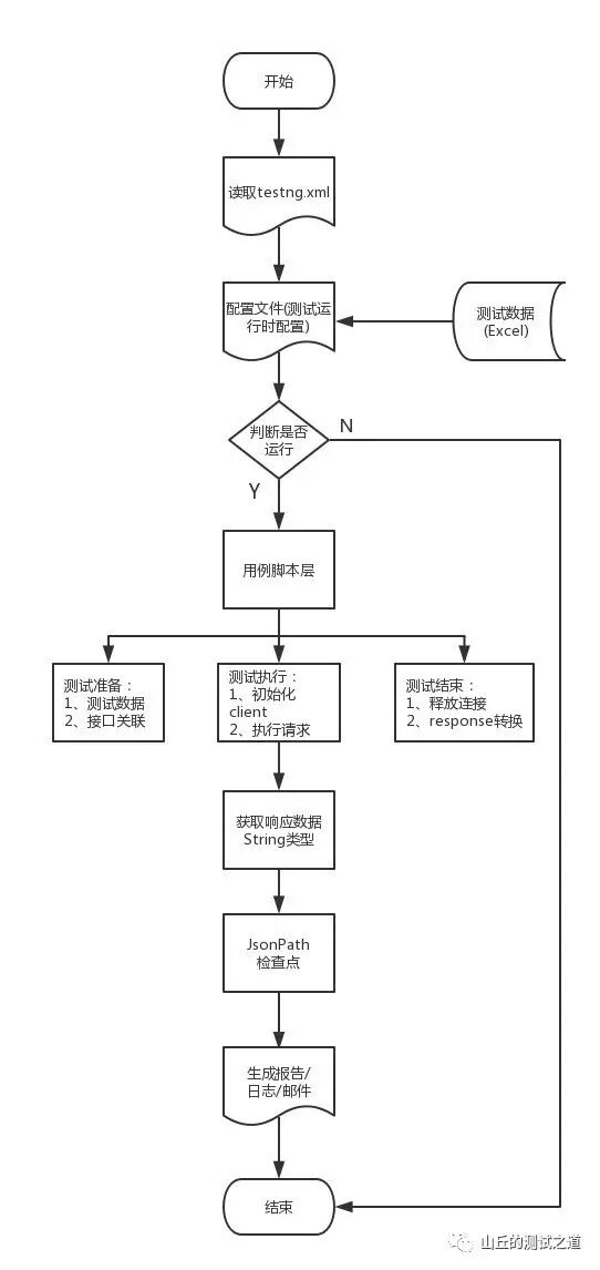
框架执行流程图
测试执行的流程(代码层):
测试执行的入口为TestNG的XML文件
获取测试用例的脚本,测试用例执行分为测试前(@BeforeTest),测试中(@Test),测试后(@AfterTest)
@BeforeTest:获取/解析测试数据(Excel文件),接口关联参数化,Cookie装载等
@Test:初始化httpclient对象,执行请求,获取响应并转换成String等
@AfterTest:jsonpath检查点,对于接口正确/错误请求的逻辑处理
生成在线ExtentReports报告/日志
Email报告,测试结果通知测试相关人员
测试用例设计
测试用例设计:
通过TestNG的@DataProvider获取Excel测试数据
将数据的表头与数据存储在map中,具体使用时方便
jsonpathPoint:jsonpath检查点,框架特点之一,极大的方便断言的编写
前后缀的使用:通过前后缀使用来区分统一作用的数据,如请求参数:params
是否运行/检查控制:通过编写测试用例时就可以控制该用例是否运行,是否检查
不足之处:一个接口的测试数据对应一个Excel文件/Sheet表,后期数据量太大
测试报告
结语
接口自动化测试在这个追求效率的时代,逐渐的取代UI自动化测试,而做接口自动化测试的工具很多,比如soapUI,postman,jmeter等等,但是这些通用的工具的可扩展性以及跟项目的契合度上并不是十分合适。框架的作用在于使测试脚本编写变得简单,增强测试脚本的可维护性,容错率等,提高测试脚本的编写效率,从而提高测试效率。
这篇文章主要介绍APIAutoTest框架的构成以及设计理念,为整个系列的开篇,在接下来的时间,会陆续分享框架的细节实现,还请继续关注。对于测试相关内容的交流,欢迎关注我的公众号:山丘的测试之道

接口自动化测试框架 (一) :APIAutoTest框架的更多相关文章
- 接口自动化测试框架 :APIAutoTest框架
前言 随着测试技术的发展,接口自动化测试逐渐成为各大公司投入产出比最高的测试技术.介入时间早,执行效率高,稳定性高的优点,让越来越多的公司引入接口自动化测试. 框架简介 APIAutoTest是处理A ...
- Python接口自动化测试框架: pytest+allure+jsonpath+requests+excel实现的接口自动化测试框架(学习成果)
废话 最近在自己学习接口自动化测试,这里也算是完成一个小的成果,欢迎大家交流指出不合适的地方,源码在文末 问题 整体代码结构优化未实现,导致最终测试时间变长,其他工具单接口测试只需要39ms,该框架中 ...
- 接口测试入门(4)--接口自动化测试框架 / list和map用法 / 随机选取新闻 (随机数生成) / 接口相关id映射
一.接口自动化测试框架 为了更好的组织测试方法,测试用例并且持续集成,我们选择了 java+testNG(测试用例组织)+gitlab(代码版本管理)+Jenkins(持续集成工具) 作为一整套的自 ...
- python版接口自动化测试框架源码完整版(requests + unittest)
python版接口自动化测试框架:https://gitee.com/UncleYong/my_rf [框架目录结构介绍] bin: 可执行文件,程序入口 conf: 配置文件 core: 核心文件 ...
- python 做接口自动化测试框架设计
1,明确什么叫自动化测试,什么叫接口自动化测试,如何设计接口测试用例,已登录为例 自动化测试:解放人力来自动完成规定的测试. 自动化测试分层模型:UI层,不论WEB端还是移动端,都是基于页面元素的识别 ...
- 接口自动化 [授客]基于python+Testlink+Jenkins实现的接口自动化测试框架V3.0
基于python+Testlink+Jenkins实现的接口自动化测试框架V3.0 by:授客 QQ:1033553122 博客:http://blog.sina.com.cn/ishou ...
- 接口自动化 基于python+Testlink+Jenkins实现的接口自动化测试框架[V2.0改进版]
基于python+Testlink+Jenkins实现的接口自动化测试框架[V2.0改进版] by:授客 QQ:1033553122 由于篇幅问题,,暂且采用网盘分享的形式: 下载地址: [授客] ...
- 基于python+Testlink+Jenkins实现的接口自动化测试框架V3.0
基于python+Testlink+Jenkins实现的接口自动化测试框架V3.0 目录 1. 开发环境2. 主要功能逻辑介绍3. 框架功能简介 4. 数据库的创建 5. 框架模块详细介绍6. Tes ...
- 【转】robot framework + python实现http接口自动化测试框架
前言 下周即将展开一个http接口测试的需求,刚刚完成的java类接口测试工作中,由于之前犯懒,没有提前搭建好自动化回归测试框架,以至于后期rd每修改一个bug,经常导致之前没有问题的case又产生了 ...
随机推荐
- cs231n --- 3 : Convolutional Neural Networks (CNNs / ConvNets)
CNN介绍 与之前的神经网络不同之处在于,CNN明确指定了输入就是图像,这允许我们将某些特征编码到CNN的结构中去,不仅易于实现,还能极大减少网络的参数. 一. 结构概述 与一般的神经网络不同,卷积神 ...
- Postgres中的物化节点之sort节点
顾名思义,物化节点是一类可缓存元组的节点.在执行过程中,很多扩展的物理操作符需要首先获取所有的元组后才能进行操作(例如聚集函数操作.没有索引辅助的排序等),这时要用物化节点将元组缓存起来.下面列出了P ...
- 《深入浅出Netty》【PDF】下载
<深入浅出Netty>[PDF]下载链接: https://u253469.pipipan.com/fs/253469-230062563 内容简介 本文档主要讲述的是深入浅出Netty: ...
- 【java】对象克隆protected Object clone() throws CloneNotSupportedException
package 对象克隆; class A implements Cloneable{//要具备clone()功能必须要实现Cloneable接口,此接口里无方法,只起标识作用. private St ...
- ES6字符串方法
ES6字符串提供三个函数确定一个字符串是否包含在另一个字符串中,分别是includes().startsWith().endsWith(),这三种方法都返回一个布尔值. includes()方法表示是 ...
- apache故障处理
注意:修改虚拟机主机html路径不需要修改主配置这一行. DocumentRoot "/var/www" 1.Permission denied: [client 10.10.2. ...
- ArcGIS 网络分析[2.4] OD成本矩阵
什么是OD成本矩阵? 先不说这个东西是什么,我们还是举一个实际的例子: 现在存在3个城市北京.上海.武汉,请分析他们两两之间的通行时间. 很简单嘛!北京到上海,北京到武汉,上海到武汉都来一次最短路径分 ...
- Office 365实现单点登录系列(1)—域环境搭建
Hello 小伙伴们, 2018新年快乐,作为2018年首篇文章,怎么能不给大家带来点干货呢?这篇文章其实我9月底的时候已经在MSDN上发布过了,为表诚意,我更新了这篇文章,并把它组成了一个系列,2. ...
- 正则验证,match()与test()函数的区别?
test是RegExp的方法,参数是字符串,返回值是boolean类型.match是String的方法,参数是正则表达式,返回值是数组. 案例: //判断日期类型是否为YYYY-MM-DD格式的类型 ...
- css中使用if条件在各大浏览器(IE6\IE7\IE8)中hack方法解决教程
一个滚动代码,其他浏览器都滚的好好的,就IE出现错误,DIV+CSS if条件hack,这里DIVCSS5为大家介绍针对各大浏览器(IE6\IE7\IE8)中使用if条件hack方法教程,DIV CS ...